آنطور که شواهد و قراین نشان میدهد، به نظر میرسد اپل استراتژی موسوم به تیک-تاک را برای طراحی و تغییرات در آيفون خود کنار گذاشته است، چراکه تصاویر منتسب به آیفون 6SE نشانی از تغییرات...
تایید هویت دو مرحلهای فرآیندی است که فقط هنگامی به کاربر اجازهی ورود به سیستم را میدهد که کد دریافت شده به وسیله پیام کوتاه یا ایمیل را وارد سیستم مربوطه کند. در واقع، تایید هویت...
استفاده از برخی کدهای مخفی به منظور فعال کردن یکسری ویژگی یا مشاهده اطلاعات مختلف در موبایلها از گذشته وجود داشته است. در این مطلب قصد داریم شما را با تعدادی از کدهای...
در ماههای اخیر شایعات متعددی در مورد نسل بعدی آیفون اپل مطرح شده است. یکی از موارد مطرح شده، حذف جک هدفون ۳.۵ میلی متری به منظور کاهش هر چه بیشتر ضخامت این گوشی هوشمند است، حال آنکه...
سیستم عامل اندروید و مرورگر کروم، دو برنامه توسعهداده شده توسط گوگل هستند که کاربران متعددی در سطح جهان دارند. اما نیاز به ارتباط بیشتر بین این دو برنامه احساس میشود. در این...
جدیدترین شایعه در مورد آیفون ۷ و آیفون ۷ پلاس در وبسایت میکروبلاگینگ چینی Weibo منتشر شده که در آن به برخی از مشخصات فنی این محصولات اشاره شده است. بنا به اطلاعاتی که این شایعه اعلام کرده،...
اکثر ما به ثبت عکسهای عریض علاقهمند هستیم چرا که نمای بازتر و بهتری از صحنه را فراهم میکنند. در این مطلب قصد داریم به دارندگان آیفون، روشی را آموزش دهیم که بتوانند با استفاده از...
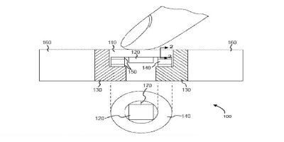
گوشیهای هوشمند امروزی امکانات و قابلتهای پیشرفتهای را در اختیار ما قرار میدهند اما با این وجود در حال حاضر بیشتر موبایلها توسط نیروی کار انسانی تولید...
در حالی که بسیاری از پرچمداران سال ۲۰۱۶ تا کنون معرفی شدهاند، همچنان شایعات و گمانهزنیهای زیادی پیرامونآیفون ۷ اپل وجود دارد. قرار است تا چند ماه آینده از این گوشی رونمایی...
نیکی، رسانهی قابل اعتماد ژاپنی خبری را به نقل از یکی از تامین کنندگان کیس آیفون منتشر کرده است که در آن به استفاده از ترکیب شیشه و فلز در یک مدل از آیفونهای سال آینده اشاره شده است. اگر...
اپل واچ یکی از ساعتهای هوشمندی است که در دسترس عموم قرار دارد، اما این ساعت همواره بینقص عمل نمیکند. ما با جستجو در فرومها، دقت در نظرات دارندگان این ساعت و...
اوایل سال 2016 اپل در مقر اصلی خود در کوپرتینو، از آیفونی ۴ اینچی رونمایی کرد که از جدیدترین فناوریهای گوشیهای پرچمدار اپل برخوردار است اما قیمت متوسطی دارد تا انتخاب آن برای...
برایان وایت، تحلیلگر موسسهی درکسل همیلتون در جریان سفرهای خود به چین برای مشاهدهی روند کار تولیدکنندگان کامپوننتهای گجتهای هوشمند گزارشی را منتشر کرده که براساس آن اپل...
اپل بارها بخوبی نشان داده که امنیت یکی از اصلیترین اولویتهای این کمپانی به شمار میرود و تلاش زیادی روی این بخش انجام میپذیرد. برای مثال، در iOS 9 با بهبودهای انجام شده،...
برای مدت محدودی که دقیقا زمان پایان آن مشخص نیست، ۲۱ اپلیکیشن کاربردی و البته پولی iOS، به صورت رایگان در دسترس کاربران خواهد بود که در قسمت اول این مطلب، ۱۰ مورد از این اپلیکیشنها را معرفی خواهیم...
شایعات جدید حاکی از گسترده شدن رنگ رُز گلد در بین محصولات اپل است. احتمالا اپل رنگ صورتی روشن را هم با محصول جدید ۴ اینچی آیفون 5se، آیپد و مکبوک رونمایی خواهد کرد. انتظار داریم آیفون ۴ اینچی ماه...
اپل در آیفون ۶ اس فناوری جدیدی را با عنوان 3D Touch معرفی کرد. حال شنیدهها حکایت از این دارد که این فناوری در آیفون ۷ روی کلید Home تعبیه خواهد شد. گمانههای جدید در این خصوص برگرفته از اطلاعاتی...